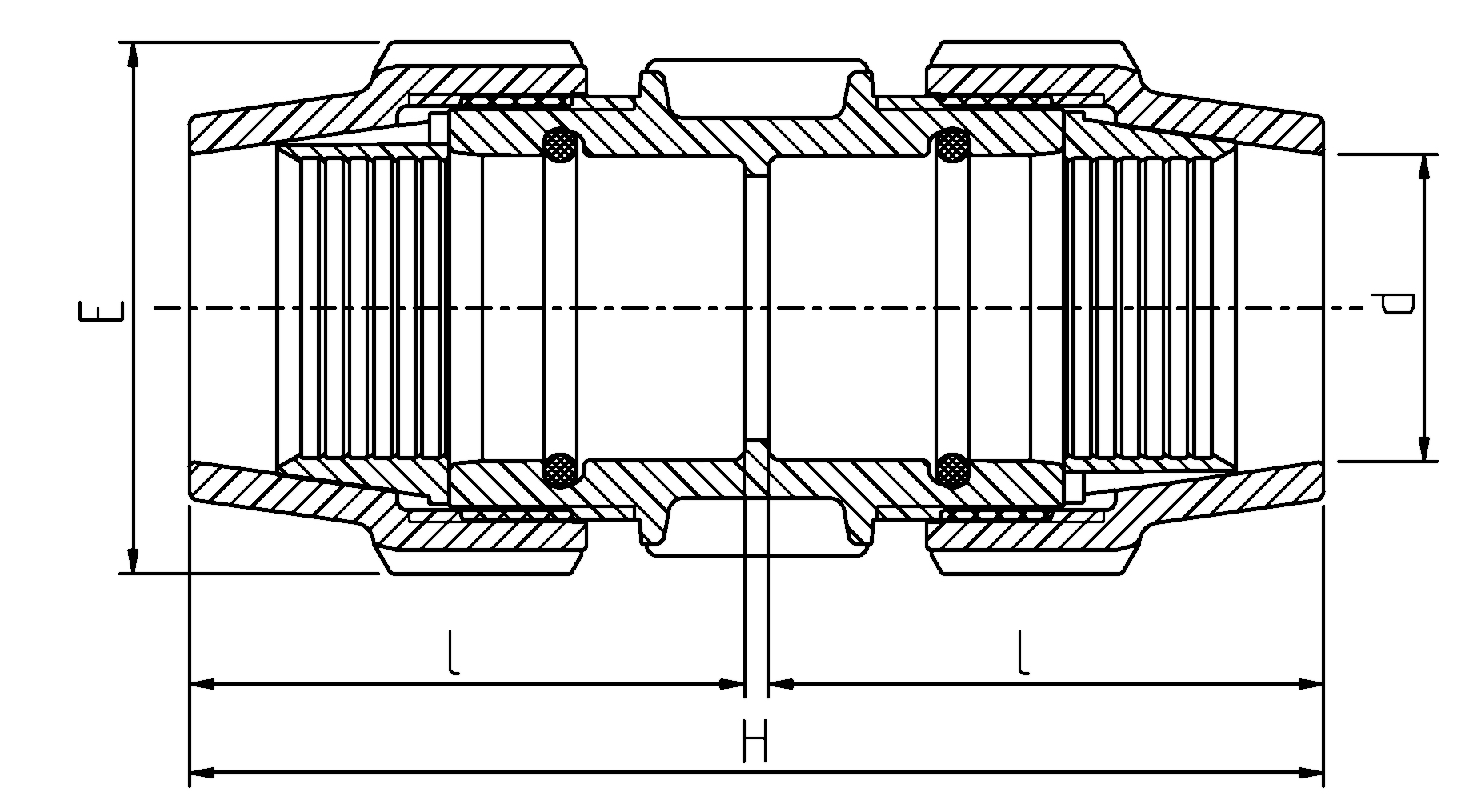
COUPLER BODY METRIC C/W O-RINGS 16-16

Product Code: 7010007

To top