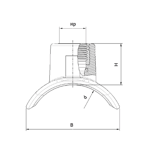
SENSOR ADAPTOR 110-400 X 3/4" 316 SS

Product Code: 4938102

To top