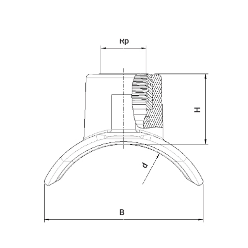
SENSOR ADAPTOR 450-1200 X 3/4" 316 SS

Product Code: 4938105

To top