Javascript seems to be disabled in your browser.You must have JavaScript enabled in your browser to utilize the functionality of this website.
Welcome Guest
Zoom
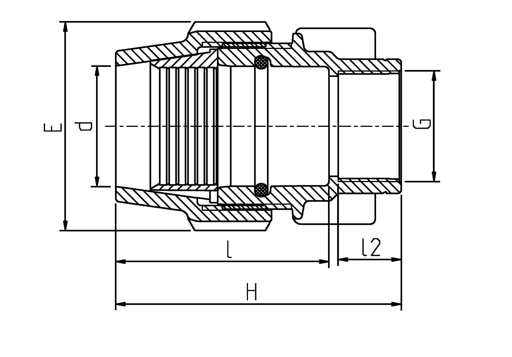
d (mm) 32H (mm) 96Unit Per Carton 140Weight (g) 140