Javascript seems to be disabled in your browser.You must have JavaScript enabled in your browser to utilize the functionality of this website.
Welcome Guest
Zoom
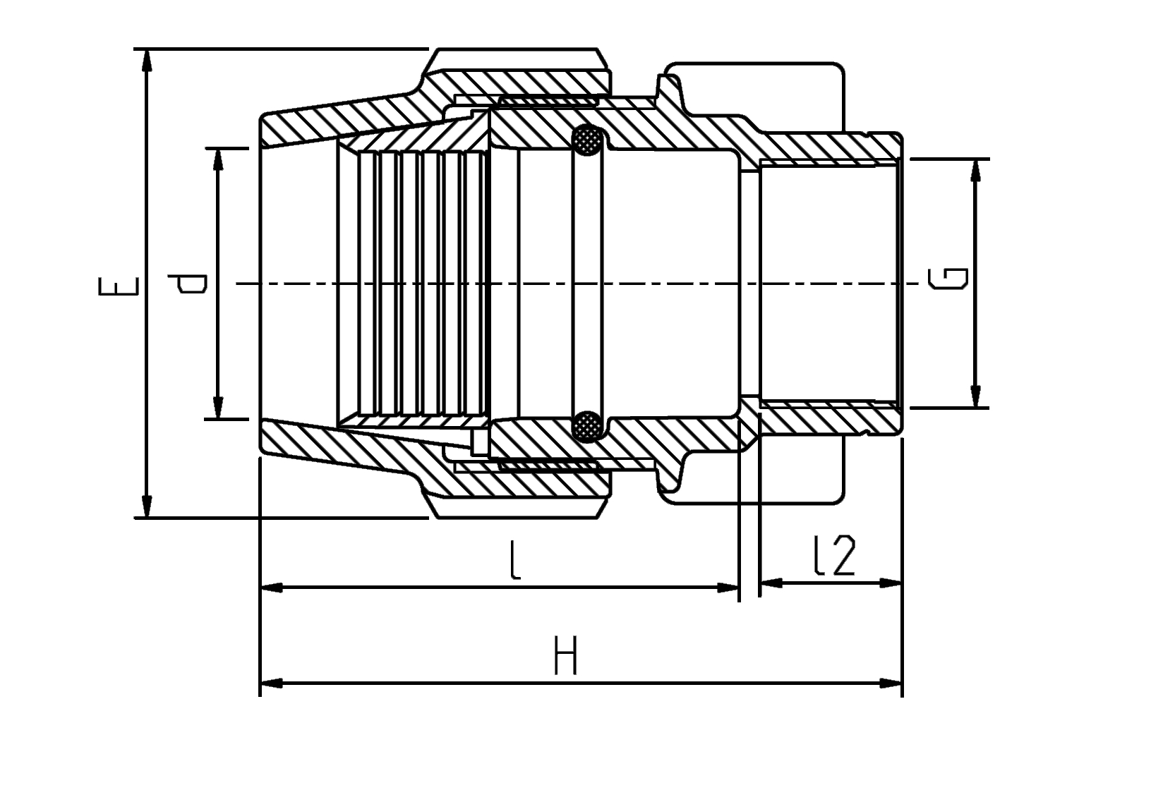
d (mm) 90H (mm) 213Unit Per Carton 16Weight (g) 1138