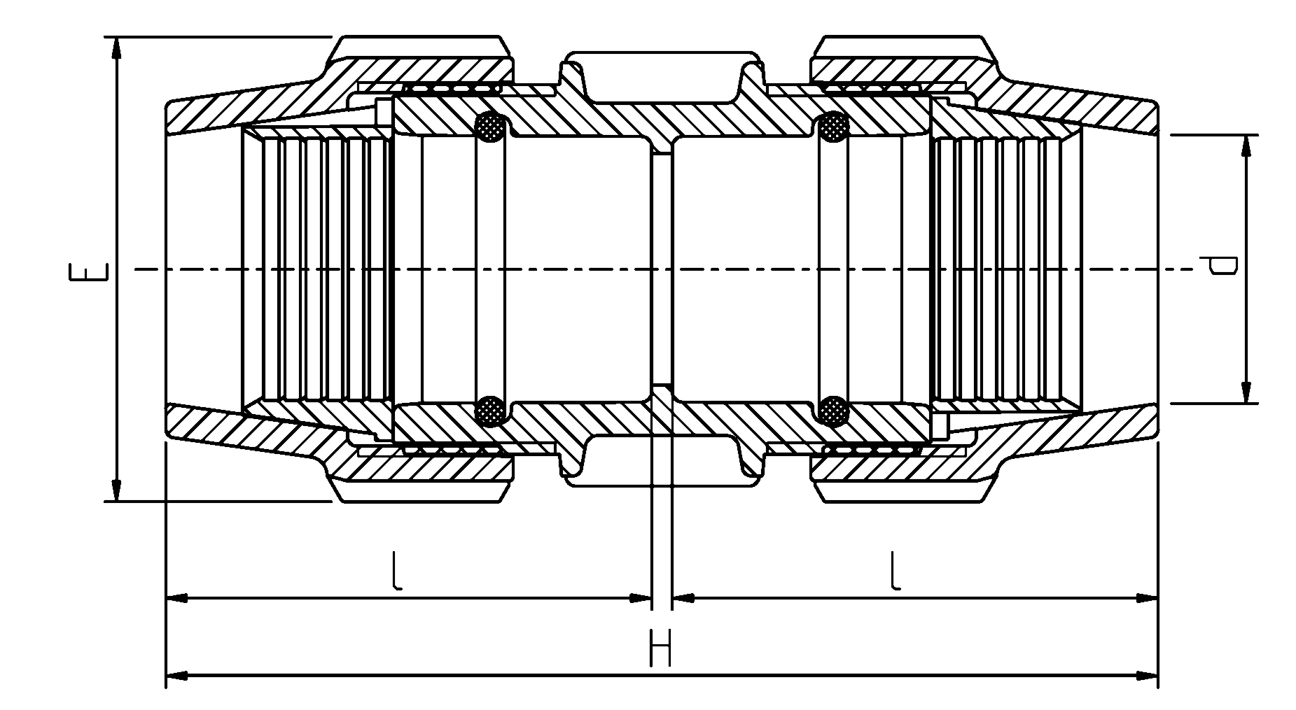
COUPLER BODY METRIC C/W O-RINGS 25-25

Product Code: 7010009

To top