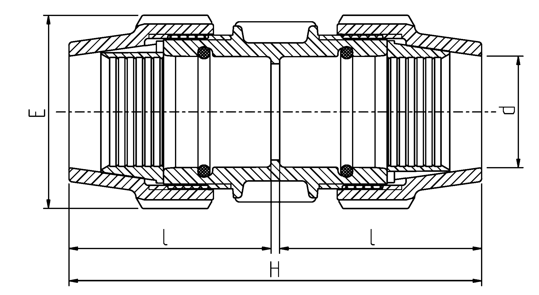
COUPLER BODY METRIC C/W O-RINGS 32-32

Product Code: 7010010

To top