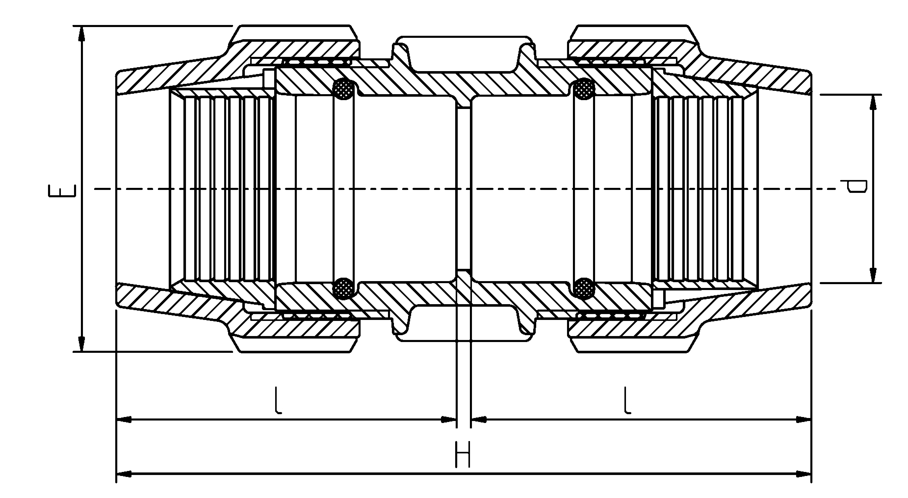
COUPLER BODY METRIC C/W O-RINGS 63-63

Product Code: 7010024

To top