Javascript seems to be disabled in your browser.You must have JavaScript enabled in your browser to utilize the functionality of this website.
Welcome Guest
Zoom
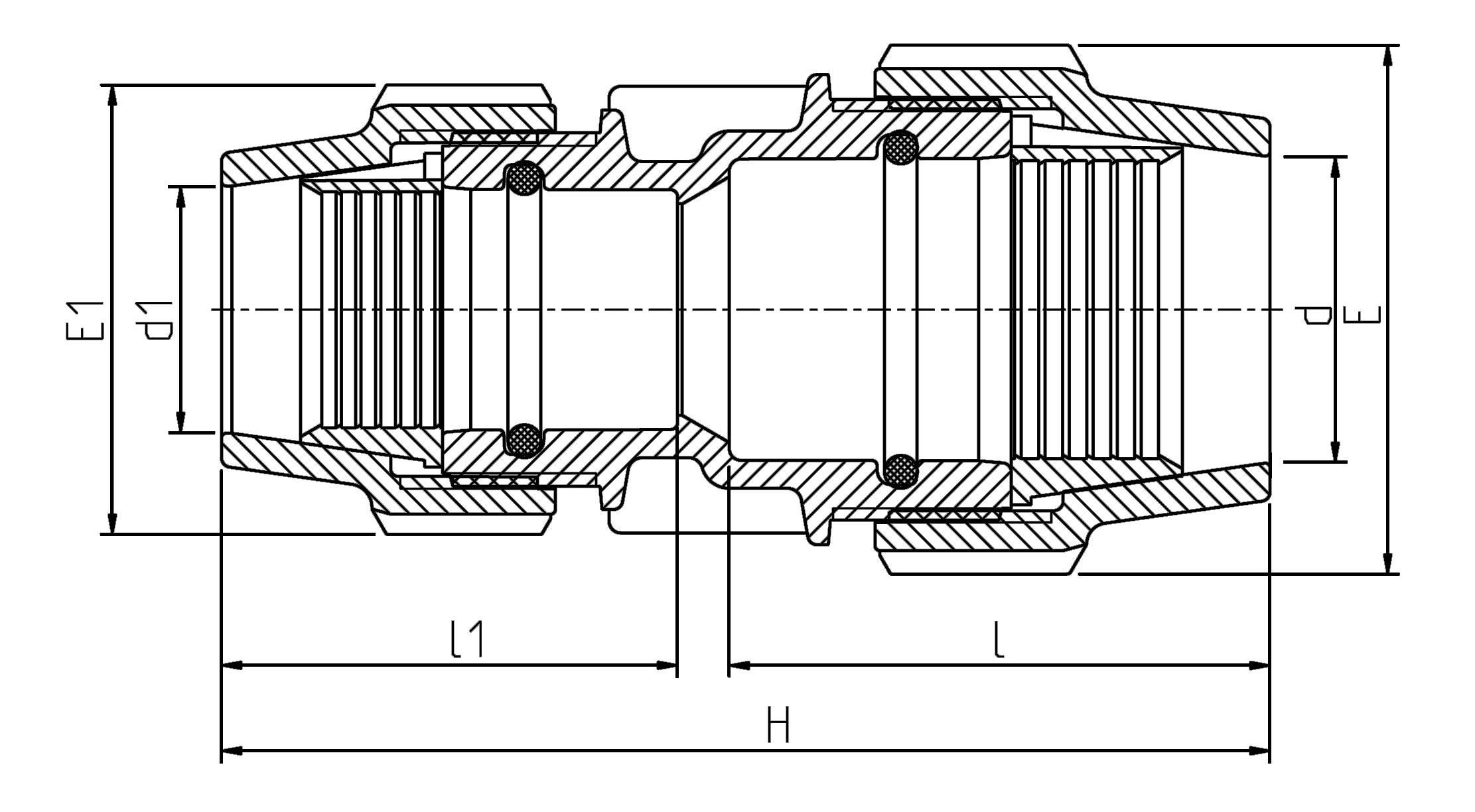
d (mm) 90d1 (mm) 75H (mm) 330Unit Per Carton 12Weight (g) 1609