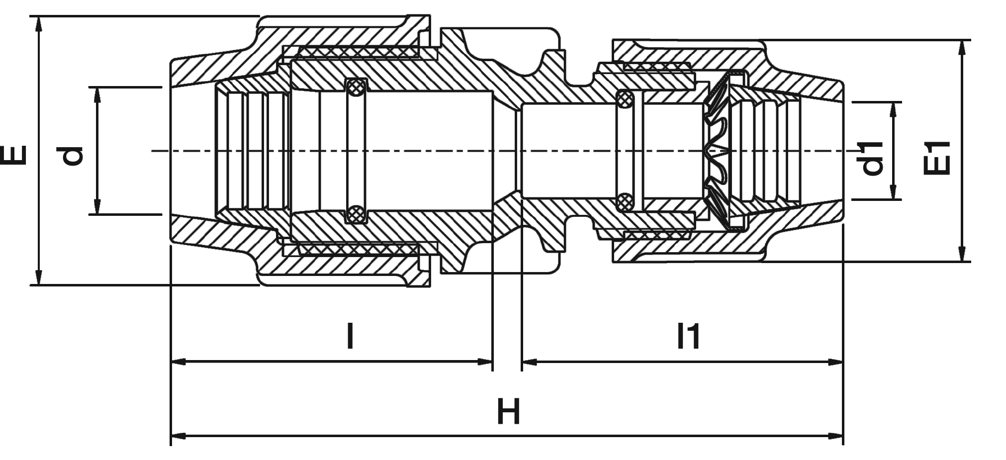
PE TO PVC CONNECTOR 63PE - 50 (2") PVC (60.3MM OD)

Product Code: 7016001

To top