Javascript seems to be disabled in your browser.You must have JavaScript enabled in your browser to utilize the functionality of this website.
Welcome Guest
Zoom
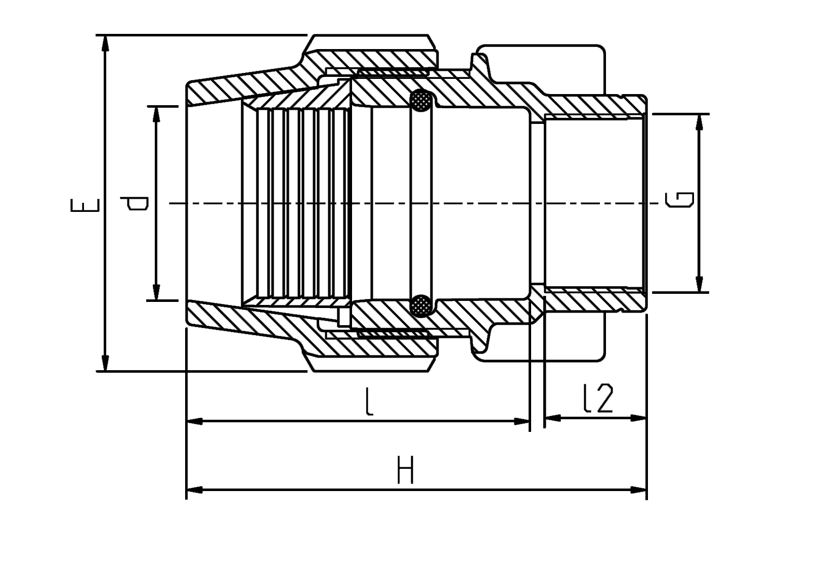
d (mm) 3/4″ RuralH (mm) 82Unit Per Carton 350Weight (g) 61