Javascript seems to be disabled in your browser.You must have JavaScript enabled in your browser to utilize the functionality of this website.
Welcome Guest
Zoom
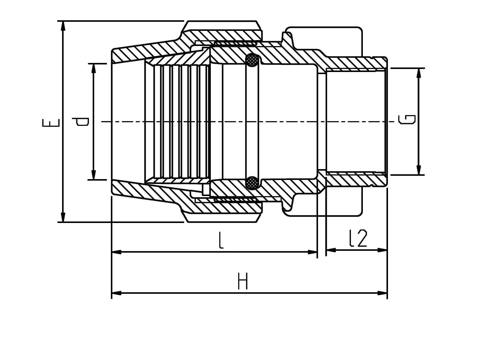
d (mm) 1 1/4″ RuralH (mm) 96Unit Per Carton 150Weight (g) 152