Javascript seems to be disabled in your browser.You must have JavaScript enabled in your browser to utilize the functionality of this website.
Welcome Guest
Zoom
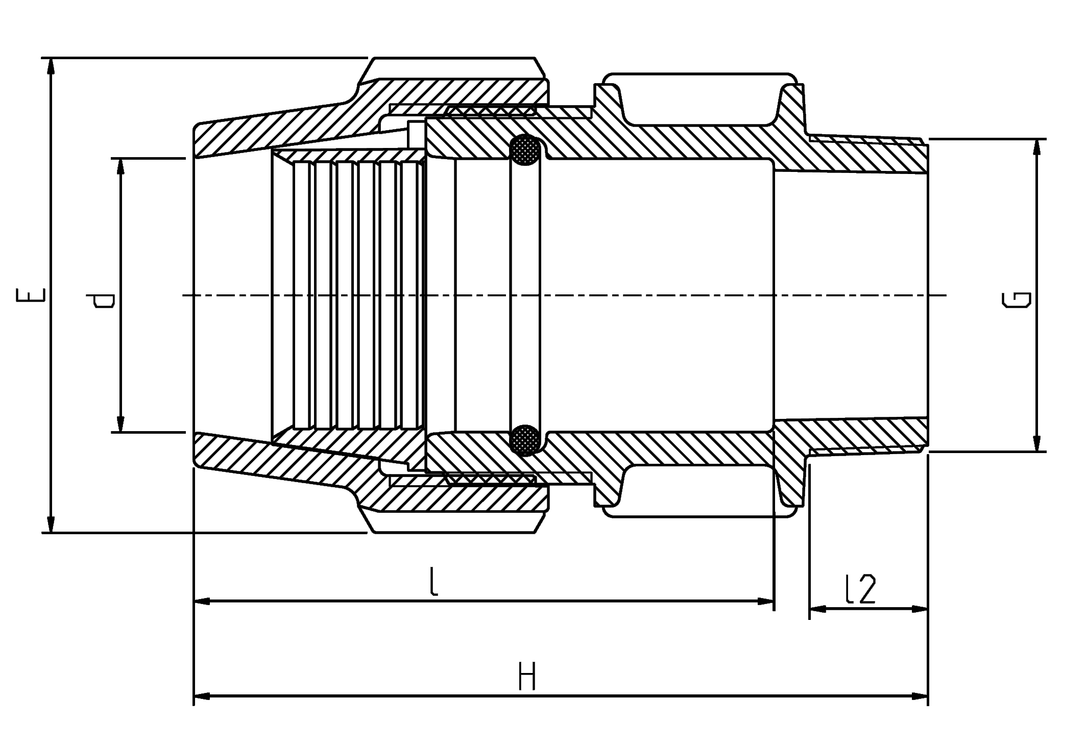
d (mm) 2″ RuralH (mm) 133Unit Per Carton 70Weight (g) 312