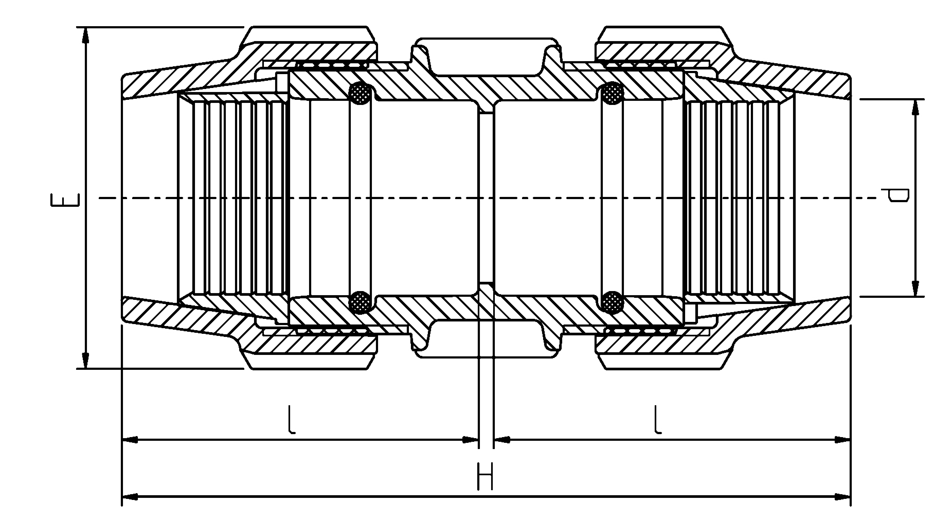
COUPLER BODY METRIC C/W O-RING 20-20

Product Code: 7010008

To top