Javascript seems to be disabled in your browser.You must have JavaScript enabled in your browser to utilize the functionality of this website.
Welcome Guest
Zoom
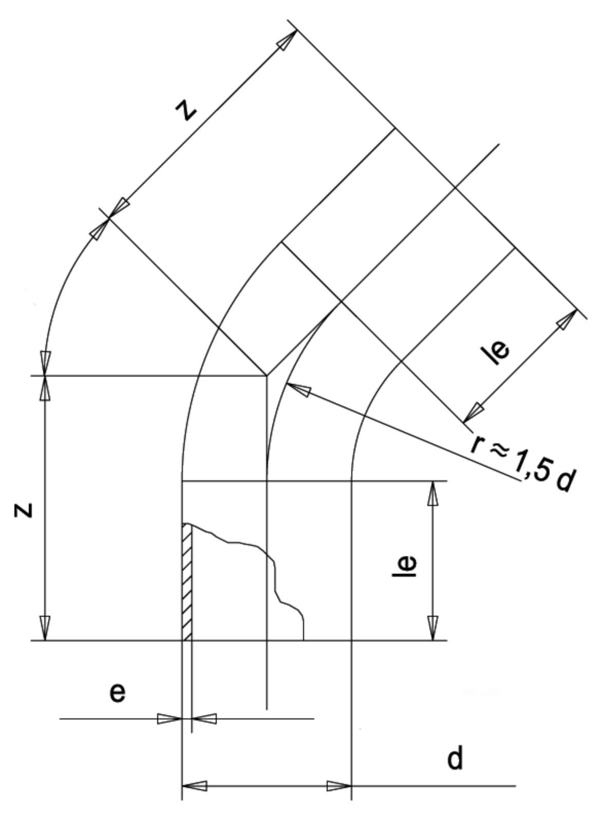
SDR 11 d (mm) 225 e (mm) 20,5 le1 (mm) 150 z1 (mm) 266 PN 16 Angle 11 Weight (kg) 8,24