Javascript seems to be disabled in your browser.You must have JavaScript enabled in your browser to utilize the functionality of this website.
Welcome Guest
Zoom
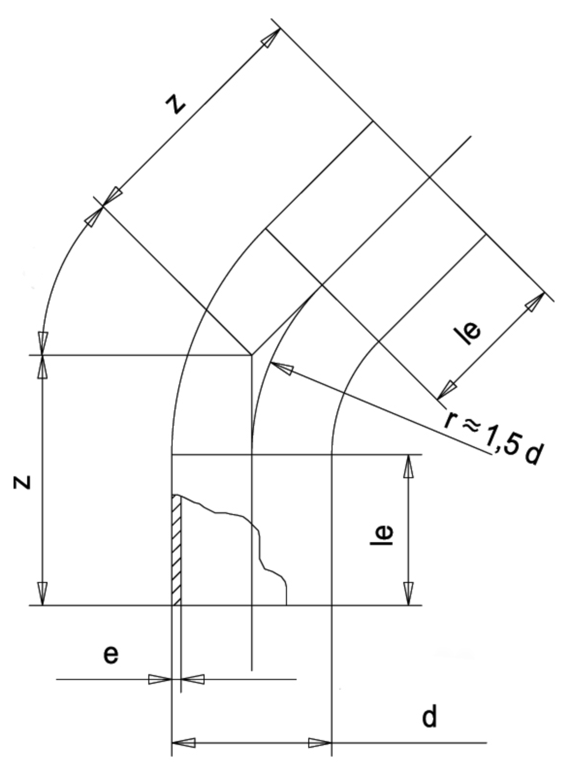
SDR 17 d (mm) 900 e (mm) 53,3 le1 (mm) 450 z1 (mm) 1150 Angle 22 Weight (kg) 428