Javascript seems to be disabled in your browser.You must have JavaScript enabled in your browser to utilize the functionality of this website.
Welcome Guest
Zoom
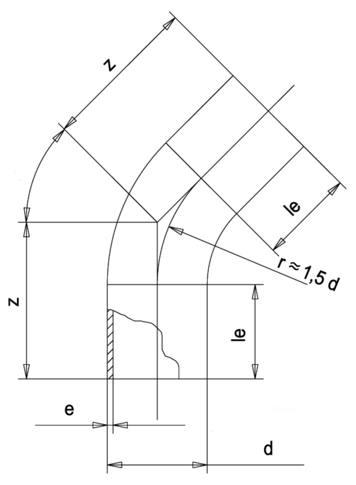
SDR 11 d (mm) 90 e (mm) 8,2 le1 (mm) 100 z1 (mm) 210 PN 16 Angle 30 Weight (kg) 0,97