Javascript seems to be disabled in your browser.You must have JavaScript enabled in your browser to utilize the functionality of this website.
Welcome Guest
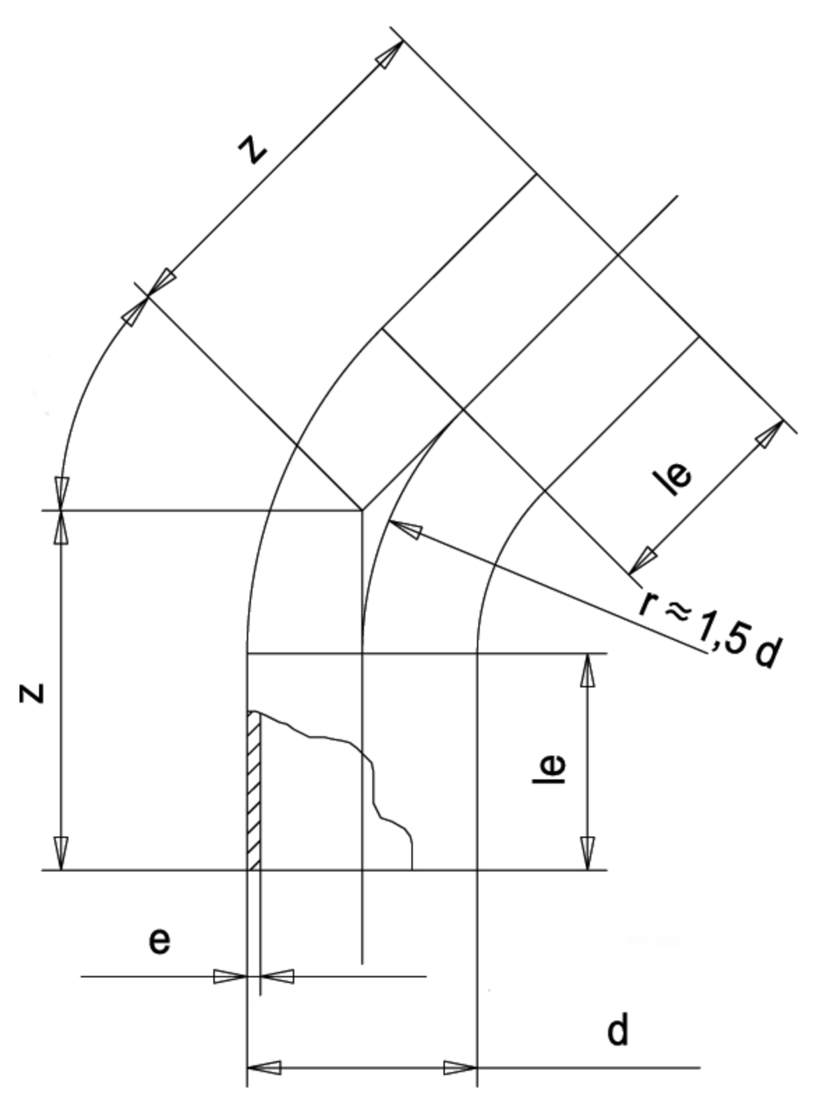
Zoom
SDR 17 d (mm) 450 e (mm) 26,7 le1 (mm) 300 z1 (mm) 580 PN 10 Angle 30 Weight (kg) 39,1