Javascript seems to be disabled in your browser.You must have JavaScript enabled in your browser to utilize the functionality of this website.
Welcome Guest
Zoom
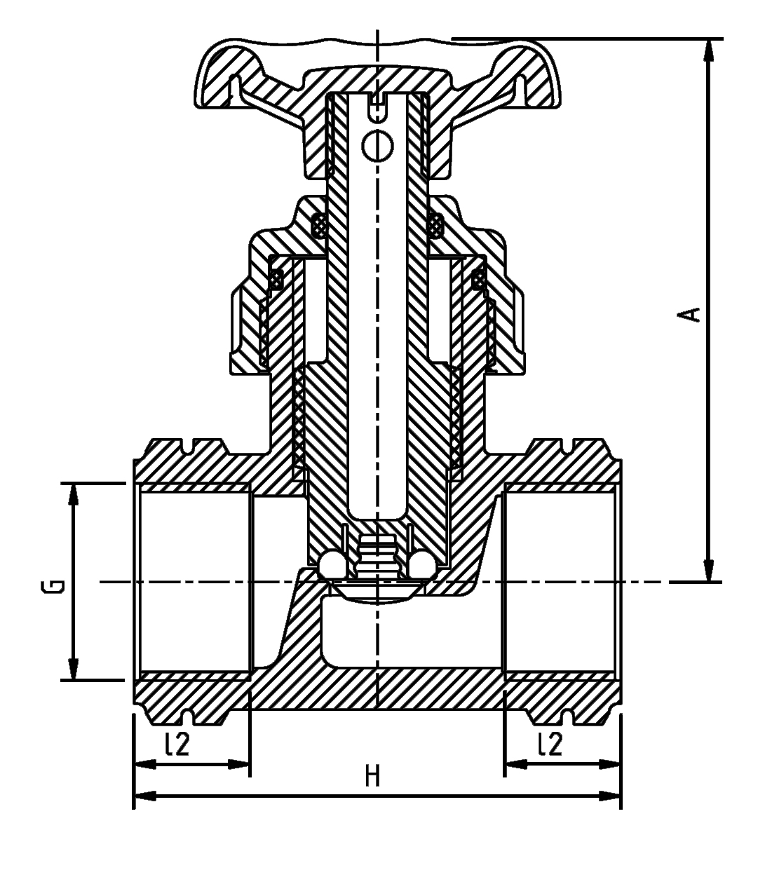
A (mm) 95H (mm) 78Unit Per Carton 140Weight (g) 115